1-29 Model
The thermocouple model is made of the MI cable and the C799 gas-proof ceramic sheath. It applies to measure temperature of gas-like and air environments. It's recommended to order the 4-20 mA / RS485 transducer (T-bus/ModBus protocol) in the remote Z67 enclosure with a cable gland and connect it by the compensating cable to avoid overheating.

Dual sheath
NOTE! 1-29 models is not high temperature proof along the whole immersion part. That's why only the ceramic part must stay in high temperature zone. Therefore, it's recommended to order the longer immersion part or the remote part to bring out the more fragile part of the probe from thermal impact. Temperature near the industrial head must stay up to 300°С, and near the transition from steel 321 to ceramic - up to 800°С. The industrial head ensures IP54 protection only up to 120°С.
Technical specifications
| Type and Nominal Resistance | Type К, N, S, R, B |
| Accuracy | 1, 2 |
| Junction type of thermocouples | Ungrounded |
| Industrial head | A |
| Sheath material | AISI 321S C799 gas proof ceramic |
| Sensor | MI cable Inconel 600 nickel alloy (type K) Ø6 mm, MI cable Nicrobel nickel-chromium alloy (type N) Ø6 mm, Grounded wire (type S, R, B) Ø.35 mm and Ø.5 mm |
| Process temperature range, °С | 0...1200 (NIC), 0...1150 (INC) - type N 0...1100 - type K 0...1400 (Ø.35), 0...1600 (Ø.50) - type S, R 600...1400 (Ø.35), 600...1600 (Ø.50) - type B |
| Thermal inertia, sec | 60 |
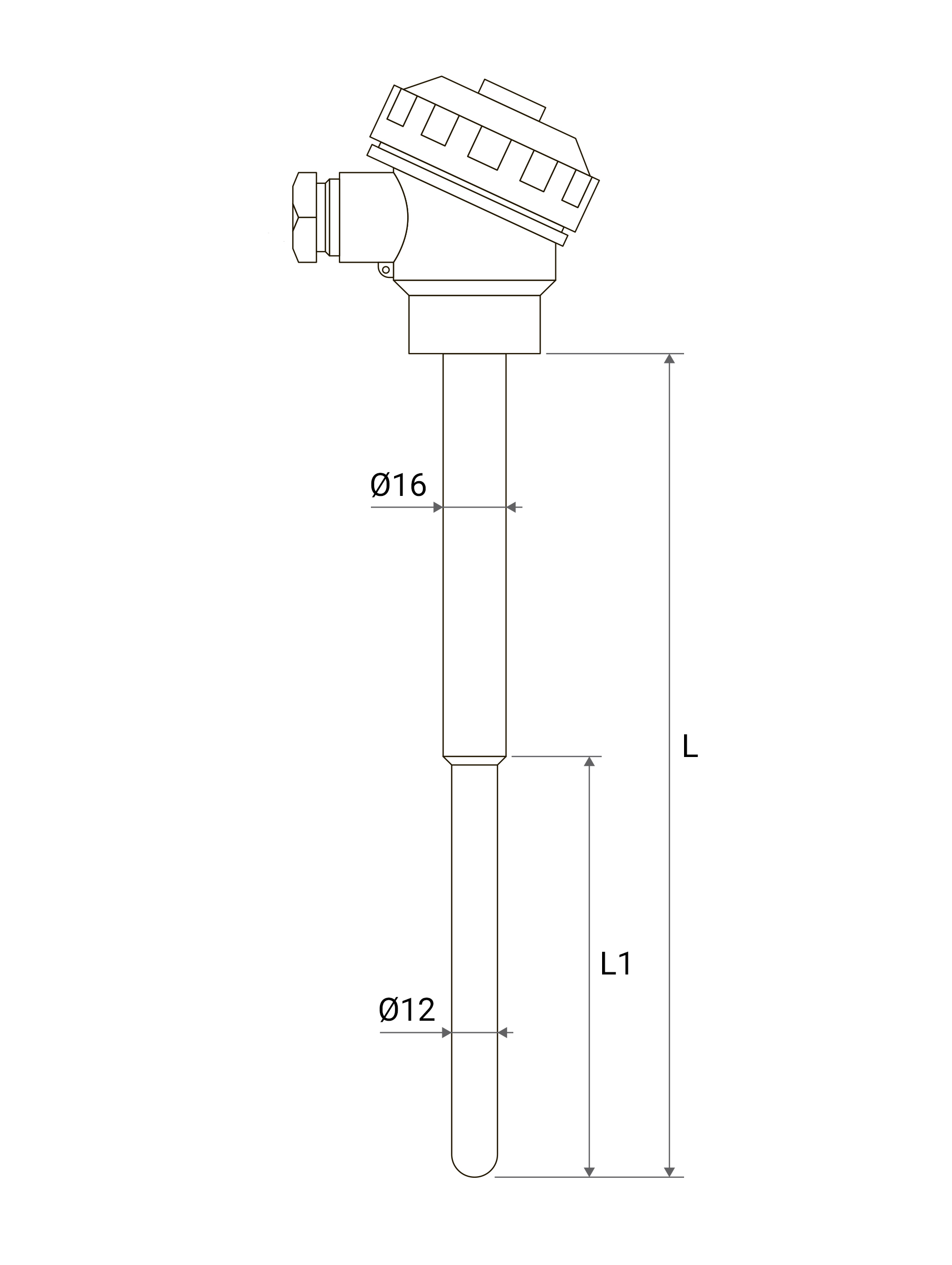
Dimensions
| Length of the immersion part, L, (ceramic part, L1) mm | 320 (250), 400 (250), 500 (320), 600 (400), 800 (400), 1000 (400), 1000 (800), 1250 (800), 1500 (800) |
| Length of the high temperature part, mm | 250, 320, 400, 800 |
| Diameter of the immersion part, mm | Ø12 |
Application Form to order the product